您現在所在位置:大田閥門 >> 襯氟閥門(襯里閥門)
設計與制造:GB12234
結構長度:GB12221(長系列)、JB97
法蘭連接尺寸:JB78 JB79 GB9113 HG SH
用途:Z41Fs楔式襯氟塑料閘閥專用于控制強腐蝕性介質,閥體內腔表面覆有可供選擇的各種氟塑料,適用于不同工作溫度和流體管路,具有強度高、耐腐蝕性能好的特點。
適用溫度:≤100℃、≤120℃、≤150℃、(可按照襯里材料)
壓力等級: 0.6、1.0、1.6
襯里層:電火花檢測
實驗與檢驗按GB/T13927標準
公稱壓力:PN閥體:PN×1.5 密封:PN×1.1
閥體:鑄鐵、碳鋼、不銹鋼、超低碳不銹鋼 閥蓋:鑄鐵、碳鋼、不銹鋼、超低碳不銹鋼
襯里:氟塑料 閥板:碳鋼完全包覆氟塑料 支架:碳鋼
閥桿:2Cr13 1Cr18Ni9,部分包覆氟塑料 手輪:鑄鐵、碳鋼
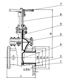
1、閥體2、閥蓋3、閥體襯里4、閘板5、閥桿6、支架7、手輪
注:表中L值DN≤32按JB97 PN4.0MPa.DN≥40按GB12221長系列。

| 公稱通徑 | L | D | D1 | ||||||||||
|---|---|---|---|---|---|---|---|---|---|---|---|---|---|
| DN | NPS | 0.6 | 1.0 | 1.6 | 2.5 | 0.6 | 1.0 | 1.6 | 2.5 | 0.6 | 1.0 | 1.6 | 2.5 |
| 15 | 1/2 | 130 | 130 | 130 | 130 | 80 | 95 | 95 | 95 | 55 | 65 | 65 | 65 |
| 20 | 3/4 | 150 | 150 | 150 | 150 | 90 | 105 | 105 | 105 | 65 | 75 | 75 | 75 |
| 25 | 1 | 160 | 160 | 160 | 160 | 100 | 115 | 115 | 115 | 75 | 85 | 85 | 85 |
| 32 | 11/4 | 180 | 180 | 180 | 180 | 120 | 135 | 135 | 135 | 90 | 100 | 100 | 100 |
| 40 | 11/2 | 240 | 240 | 240 | 240 | 130 | 145 | 145 | 145 | 100 | 110 | 110 | 110 |
| 50 | 2 | 250 | 250 | 250 | 250 | 140 | 160 | 160 | 160 | 110 | 125 | 125 | 125 |
| 65 | 21/2 | 270 | 270 | 270 | 270 | 160 | 180 | 180 | 180 | 130 | 145 | 145 | 145 |
| 80 | 3 | 280 | 280 | 280 | 280 | 185 | 195 | 195 | 195 | 150 | 160 | 160 | 160 |
| 100 | 4 | 300 | 300 | 300 | 300 | 205 | 215 | 215 | 230 | 170 | 180 | 180 | 190 |
| 125 | 5 | 325 | 325 | 325 | 325 | 235 | 245 | 245 | 270 | 200 | 210 | 210 | 220 |
| 150 | 6 | 350 | 350 | 350 | 350 | 260 | 280 | 280 | 300 | 225 | 240 | 240 | 250 |
| 200 | 8 | 400 | 400 | 400 | 400 | 315 | 335 | 335 | 360 | 280 | 295 | 295 | 310 |
| 250 | 10 | 450 | 450 | 450 | 450 | 370 | 390 | 405 | 425 | 335 | 350 | 355 | 370 |
| 300 | 12 | 500 | 500 | 500 | 500 | 435 | 440 | 460 | 485 | 395 | 400 | 410 | 430 |
| 350 | 14 | 550 | 550 | 550 | 485 | 500 | 520 | 445 | 460 | 470 | |||
| 400 | 16 | 600 | 600 | 600 | 535 | 565 | 580 | 495 | 515 | 525 | |||
| 450 | 18 | 650 | 650 | 650 | 590 | 615 | 640 | 550 | 565 | 585 | |||
| 500 | 20 | 700 | 700 | 700 | 640 | 670 | 705 | 600 | 620 | 650 | |||
| 公稱通徑 | D2 | b | n-Фd | ||||||||||
|---|---|---|---|---|---|---|---|---|---|---|---|---|---|
| DN | NPS | 0.6 | 1.0 | 1.6 | 2.5 | 0.6 | 1.0 | 1.6 | 2.5 | 0.6 | 1.0 | 1.6 | 2.5 |
| 15 | 1/2 | 40 | 45 | 45 | 45 | 12 | 14 | 14 | 16 | 4-12 | 4-14 | 4-14 | 4-14 |
| 20 | 3/4 | 50 | 55 | 55 | 55 | 14 | 16 | 16 | 16 | 4-12 | 4-14 | 4-14 | 4-14 |
| 25 | 1 | 60 | 65 | 65 | 65 | 14 | 16 | 16 | 16 | 4-12 | 4-14 | 4-14 | 4-14 |
| 32 | 11/4 | 70 | 788 | 788 | 788 | 16 | 18 | 18 | 18 | 4-14 | 4-18 | 4-18 | 4-18 |
| 40 | 11/2 | 80 | 85 | 85 | 85 | 16 | 18 | 18 | 18 | 4-14 | 4-18 | 4-18 | 4-18 |
| 50 | 2 | 90 | 100 | 100 | 100 | 16 | 20 | 20 | 20 | 4-14 | 4-18 | 4-18 | 4-18 |
| 65 | 21/2 | 110 | 120 | 120 | 120 | 16 | 20 | 20 | 22 | 4-14 | 4-18 | 4-18 | 8-18 |
| 80 | 3 | 125 | 135 | 135 | 135 | 18 | 22 | 22 | 22 | 4-18 | 4-18 | 8-18 | 8-18 |
| 100 | 4 | 145 | 155 | 155 | 160 | 18 | 22 | 24 | 24 | 4-18 | 8-18 | 8-18 | 8-23 |
| 125 | 5 | 175 | 185 | 185 | 188 | 20 | 24 | 26 | 28 | 8-18 | 8-18 | 8-18 | 8-25 |
| 150 | 6 | 200 | 210 | 210 | 218 | 20 | 24 | 28 | 30 | 8-18 | 8-23 | 8-23 | 8-25 |
| 200 | 8 | 255 | 265 | 265 | 278 | 22 | 26 | 30 | 34 | 8-18 | 8-23 | 12-23 | 12-25 |
| 250 | 10 | 310 | 320 | 320 | 332 | 24 | 28 | 32 | 36 | 12-18 | 12-23 | 12-25 | 12-30 |
| 300 | 12 | 362 | 368 | 375 | 390 | 24 | 28 | 34 | 40 | 12-23 | 12-23 | 12-25 | 16-30 |
| 350 | 14 | 412 | 428 | 435 | 26 | 30 | 38 | 12-23 | 16-23 | 16-25 | |||
| 400 | 16 | 462 | 482 | 485 | 28 | 32 | 40 | 16-23 | 16-25 | 16-30 | |||
| 450 | 18 | 518 | 532 | 545 | 28 | 32 | 44 | 16-23 | 20-25 | 20-30 | |||
| 500 | 20 | 568 | 585 | 608 | 30 | 34 | 46 | 16-23 | 20-25 | 20-34 | |||
溫馨提示:
本文中所有文字、數據、圖片均只適用于參考。需要查看更多的Z41Fs楔式襯氟塑料閘閥性能參數、結構尺寸參數、價格等詳情,或要求印刷樣本,請聯系我們。
主營產品:氣動調節閥 - 電動調節閥 - 自力式調節閥
版版權所有 © 上海大田閥門管道工程有限公司
地址:上海市浦東新區川宏路528號宏圖大樓5樓
